Am 7. Juli finden in New York und Paris Veranstaltungen von Fujifilm statt. Während in der Einladung zum Event in Paris nur die Rede davon ist, dass Geräte in die Hand genommen werden können, verspricht die New Yorker Einladung „exotic cars“, „live models“ und die Möglichkeit, NY City vom Wasser aus zu fotografieren. Mit anderen Worten: es gibt etwas Neues, mit dem fotografiert werden kann. Und das soll laut Fuji Rumors die Fujifilm X-T2 sein, das neue Top-Modell der X-Serie.
Über die Kamera ist noch nichts bekannt, aber wir werden Sie auf dem Laufenden halten.
Parallel arbeiten die Fuji-Entwickler wohl an einer Mittelformatkamera, die der eben vorgestellten Hasselblad Konkurrenz machen soll. Es wird vermutet, dass die deutlich günstiger werden soll, als die Hasselblad, deren Gehäuse allein das Budget mit rund 7900 € belastet.
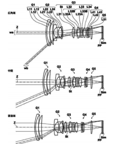
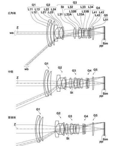
Außerdem scheint auch eine neue Version des Fujifilm XF 16-55 mm F2.8 in der Pipeline zu sein – zumindest berichtet egami.blog über ein entsprechendes Patent. Der Unterschied zur aktuellen Variante: Die neue soll einen Bildstabilisator aufweisen. Beim bekannten Objektiv wurde darauf verzichtet, weil der Stabilisator bei großen Bildwinkeln zu einem Verlust an Abbildungsleistung in den Bildecken führt.





