News
Meinung
Tests
Wettbewerbe
Punktelisten
Wettbewerbsgalerien
Tipps
Shop
Abonnement
Foren-Account
Aktuelle Ausgabe
Nachbestellungen – Print
2025
2024
2023
2022
2021
2020
2019
2018
2017
2016
2015
2014
2013
Nachbestellungen – Digital
2026
2025
2024
2023
2022
2021
2020
Forum
Suche
Anmelden
Herzlich willkommen! Melden Sie sich an
Ihr Benutzername
Ihr Passwort
Haben Sie Ihr Passwort vergessen? Hilfe bekommen
Datenschutzrichtlinien
Passwort-Wiederherstellung
Passwort zurücksetzen
Ihre E-Mail-Adresse
Ein Passwort wird Ihnen per Email zugeschickt.
d-pixx
News
Meinung
Tests
Wettbewerbe
Punktelisten
Wettbewerbsgalerien
Tipps
Shop
Abonnement
Foren-Account
Aktuelle Ausgabe
Nachbestellungen – Print
2025
2024
2023
2022
2021
2020
2019
2018
2017
2016
2015
2014
2013
Nachbestellungen – Digital
2026
2025
2024
2023
2022
2021
2020
Forum
Start
Schlagworte
Optischer Sucher
Schlagwort: Optischer Sucher
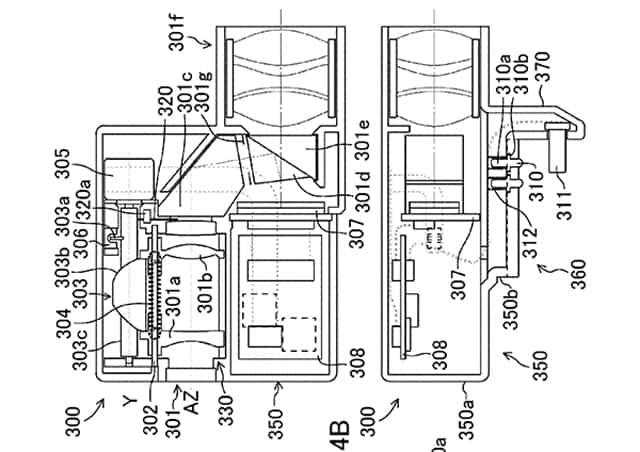
Panasonic Patent für optischen Sucher für mFT-Kameras
Herbert Kaspar
-
10. Oktober 2014
0
Werbung
Werbung
Werbung