Es ist immer wieder interessant, einen Blick auf die Patent-Einträge zu werfen. Der Blog canonnews ist nun über das Patent 2019-191432 (in Japan) gestolpert. Dieses zeigt, dass Canon mehr oder weniger versuchen möchte, einen „Staubsauger“ in ein Objektiv zu bauen.
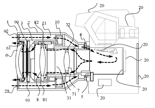
Wie auf der Patent-Skizze gut zu erkennen ist, integriert Canon zwei Zuluftkanäle an Ober- und Unterseite des Objektivs. Die Luft wird in Richtung Sensor geleitet und dann an den Linsenelementen vorbei wieder aus dem Objektiv befördert. Canon möchte auf diesem Weg einen Unterdruck erzeugen, sodass Staubpartikel gar nicht erst auf dem Sensor landen.
Ob aus diesem Patent jemals ein konkretes Objektiv hervorgehen wird, steht in den Sternen. Interessant ist die Idee der Canon-Ingenieure aber auf jeden Fall.






