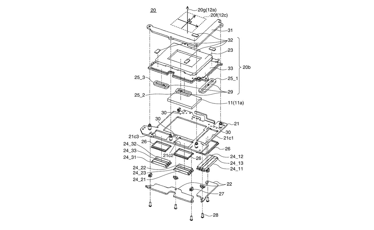
Canon verzichtet bislang darauf, die Bildstabilisierung direkt im Gehäuse seiner Kameras zu verbauen, sondern setzt auf eine Stabilisierung über die Objektive. Jetzt hat CanonNews ein neues Patent entdeckt, das ziemlich genau beschreibt, wie sich Canon eine Inbody-Bildstabilisierung (IBIS) vorstellt.
Vor diesem Hintergrund könnte es nur noch eine Frage der Zeit sein, bis wir auch Canon-Bodys mit einem integrierten Bildstabilisator sehen. Laut CanonNews soll die Aufhängung besonders effizient gelöst sein, sodass nur minimale Kräfte benötigt werden, um die Stabilisierung auszulösen.
Wie gut sich eine solche Lösung im Vergleich zur Konkurrenz verkaufen kann, das wird sich möglicherweise in der nicht mehr allzu fernen Zukunft zeigen. Ob bereits die kommenden EOS-R-Modelle über eine entsprechende Lösung verfügen? Man wird es sehen.





